Support Home Page
Cubix Home Page
Feedback Forms

Chapter 1

Setting Up the FaxModem


Setting up your faxmodem for the first time involves three basic steps, summarized here and explained in more detail in the following sections:

After you have set up the faxmodem you can insert and remove the faxmodem card as needed. You don’t need to reconfigure your system to swap between various PC cards.

If you decide to upgrade your faxmodem for use with a cellular connection, you will need to perform a one-time installation of additional software into the PCMCIA card memory. See the documentation that comes with the upgrade.


Installing the FaxModem

Some computer manufacturers recommend that you turn the computer off before you install a PC card.

To install the PCMCIA faxmodem

1.Turn off the computer, if the computer’s instructions recommend that you do so before installing a PC card. Otherwise, you do not need to turn the computer off.

2. Connect the phone cable to the faxmodem card as shown below. You should feel the connector snap into place. If necessary, press the side latches on the connector. If the cable’s 15-pin connector still does not fit easily into the card, turn the connector over and try again.

NOTE! To remove the phone cord from the modem, press the side latches on the connector to release the lock.

FIG1-1.GIF (3043 bytes)

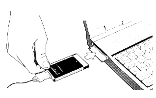
3. With the top of the faxmodem card facing up, insert the faxmodem into the PCMCIA Type II, Type III, or Toshiba 16mm card slot in your computer as shown below.

FIG1-2.GIF (5422 bytes)

NOTE! The actual PC card slot or slots may be anywhere on your computer or in an external drive.

4. Push the faxmodem firmly but gently until it meets the connection on the inside of the slot until you cannot push it any further.

CAUTION! Pushing too hard on the fax modem card may damage the connector pins.

FIG1-3.GIF (5606 bytes)

5. Plug the RJ-11 connector end of the cable into the modular telephone jack on your wall, as shown below.

FIG1-4.GIF (5546 bytes)

If you want to plug both the faxmodem cable and a telephone cable into the wall jack, you need an RJ-11 phone line splitter, which is available through electronics supply stores.

FIG1-5.GIF (6061 bytes)

6. Turn the computer back on, if you turned it off in step 1.

You are ready to install the software and test the faxmodem. Go on to the next section "Installing Software."

When you are finished using the faxmodem, you can leave the card in the computer or remove it.


Installing Software

For basic instructions on how to install the card management, fax and data communications software that came with the faxmodem, please refer to the software documentation.

If you already use card management software that lets you insert, remove, and change PCMCIA-compatible cards without having to restart or reconfigure your system, you may be able to use it with your PCMCIA faxmodem. For instructions on how to add support for the faxmodem to the card management software, please refer to that software’s documentation.

If you want to replace your existing card management software with the software that is included in the faxmodem package, you need to remove the existing card management software first. Removing the software can involve editing system files such as CONFIG.SYS, AUTOEXEC.BAT, and if you use Windows, SYSTEM.INI and WIN.INI. For instructions on how to remove the software, please refer to your existing card management software documentation or contact the software vendor’s customer support department.


Testing the FaxModem

After you install and configure the card management and communications software, you can test whether the faxmodem is properly connected.

If you have installed the data communications software, start up the software and change to terminal mode (also known as command, direct, or local mode). Type AT and press the Enter key. The faxmodem should display the word "OK" on your screen. If you do not see this response, make sure that the data software is configured for the same COM port that is specified in the card management software. Then enter the AT command again. If the faxmodem still does not respond, see Chapter 3. When you finish the test, you can exit the software.

If you have installed just the fax software, follow the steps for registering the software. If you are unable to transmit the registration form, make sure that the fax software is configured for the same COM port that is specified in the card management software. Then try transmitting the form again. When you finish the test, you can exit the software.

You are ready to use your faxmodem.


Removing the PCMCIA FaxModem

When you are not using the faxmodem you can leave it in the slot or remove it.

To remove the faxmodem

1. Unplug the phone cord from the walljack and disconnect it from the faxmodem. To disconnect the phone cord from the faxmodem press the side latches on the connector and pull gently.

2. Check your computer for a release button or latch to press before sliding the faxmodem out of the PCMCIA slot. For more information, see your computer’s documentation.

3. Slide out the faxmodem from the slot.